FuelSender Blind es un dispositivo patentado y extensible diseñado para prevenir que se abra el aforador con la intención de robar combustible. Una vez instalado, ya no será posible desenroscar el aforador del tanque para robar el combustible.
Un dispositivo para todos
Se adapta a las abrazaderas de todos los tanques y ofrece una mayor seguridad en fase de...
Una vez instalado, ya no será posible desenroscar el aforador del tanque para robar el combustible.
Ventajas
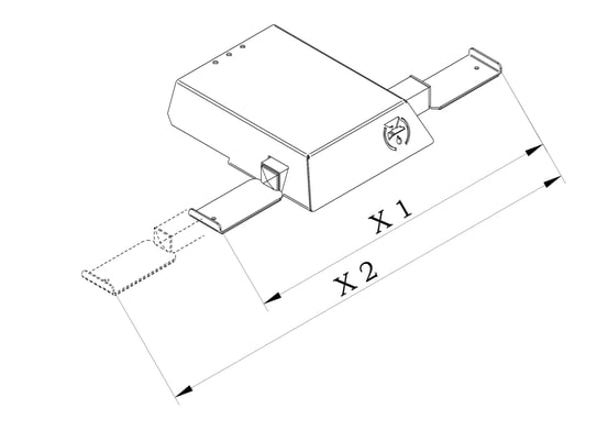
· Extensible para adaptarse a todos los tanques
· Instalación rápida sin modificaciones en el tanque
· Estructura de gran rigidez
· Volumen vertical mínimo
· Protecciones inferiores de goma para proteger el tanque
· Desmontable y reutilizable
Materiales
· Protector de aforador de acero, 2 mm
· Tubos telescópicos de acero, 1,5 mm
· Acabado con pintura de poliéster gris aluminio
· Tapones de polietileno negro para cubrir el tubo
· Protecciones de goma adhesiva
Gracias al estribo de colocación extensible, la instalación es a medida y al alcance de todos.
Instalación rápida del Sender Blind
Sender Blind enganchado al tanque después de la instalación
